Savustusuuni hormielementeistä – näin rakennat pihalle tukevan tee se itse -savustimen

Itsetehty savustusuuni tuo pihalle ja mökille aidon savustamisen tunnelman. Hormielementeistä rakennettu savustusuuni sopii kalan, lihan ja kasvisten savustamiseen silloin, kun halutaan tukeva ja pitkäikäinen ratkaisu valmissavustimen sijaan.
Savustusuuni syntyy neljästä ontosta hormi- tai piippuelementistä. Rakenne sopii pihalle tai mökille silloin, kun haluat savustaa kalaa, lihaa tai kasviksia tukevassa, paikallaan pysyvässä uunissa.
Ohje on mitoitettu noin 43 × 43 cm kokoisille kivipohjaisille hormielementeille. Vastaavia elementtejä on myyty eri aikoina eri nimillä, kuten hormielementti, piippuelementti, hormiharkko tai kevytsorabetoninen hormielementti. Nykyisten tuotteiden mitat vaihtelevat, joten saatavuus ja soveltuvuus kannattaa tarkistaa rautakaupasta tai hormitoimittajalta ennen tarvikkeiden hankintaa.
Tämä tee se itse -ohje perustuu Rakentaja.fi:n aiemmin julkaistuun savustusuuniohjeeseen.
Rakenteen idea on yksinkertainen. Alimpaan osaan sijoitetaan ilmanotto, hiilet ja savustuspurukaukalo. Keskiosaan tehdään luukku ja välilevy. Yläosaan jää varsinainen savustustila, johon kala tai muu savustettava ruoka ripustetaan koukkuihin.
Savustusuunissa käytetään tavallisia grillihiiliä. Niiden lämpöä on tässä rakenteessa yleensä helpompi hallita kuin pitkään palavien brikettien. Lämpötilaan vaikuttavat hiilien määrä, ilmanotto ja uunin veto.
Savustusuunille tarvitaan tukeva alusta
Savustusuuni rakennetaan tasaiselle ja palamattomalle alustalle. Alle asetetaan paksu betonilaatta, jonka kokoiselta alueelta pintamaa poistetaan. Alusta tasataan huolellisesti ennen ensimmäisen elementin asentamista.
Rungosta tulee korkea ja painava, joten alustan pitää pysyä suorassa myös sateiden ja routimisen jälkeen. Uuni kannattaa sijoittaa pihalle kohtaan, jossa se ei ole kiinni rakennuksessa, terassissa, aidassa tai kuivassa kasvillisuudessa.
Tarvikkeet savustusuunia varten
- 1 paksu betonilaatta uunin alustaksi
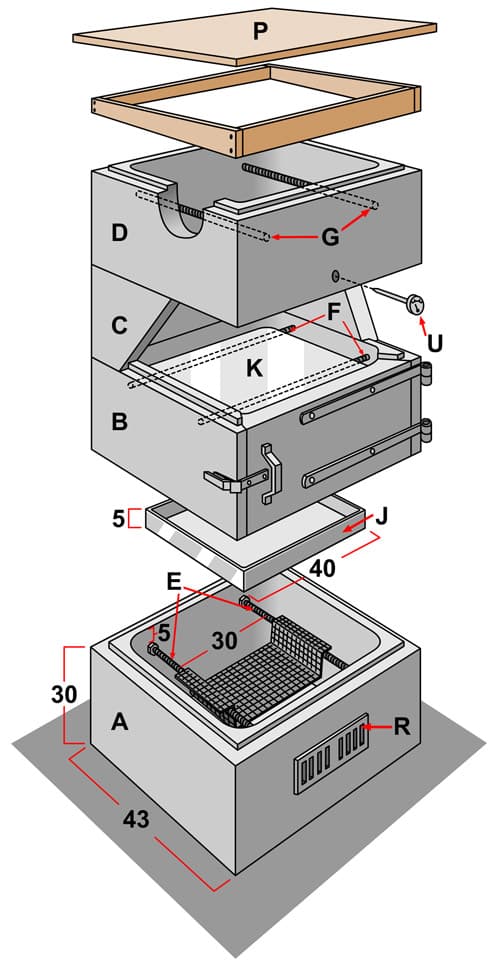
- 4 onttoa hormi- tai piippuelementtiä, noin 43 × 43 cm, osat A, B, C ja D
- 6 kierretankoa, pituus 35 cm ja halkaisija 12 mm, osat E, F ja G
- mutterit kierretankoihin
- 1 reikälevy hiiliarinaksi, paksuus 3 mm ja koko 20 × 35 cm, osa H
- 1 teräslevy välilevyksi, paksuus 1,5 mm ja koko 29 × 29 cm, osa K
- 1 teräslevy savustuspurukaukaloksi, paksuus 3 mm ja koko 50 × 50 cm, osa J
- 1 vanerilevy katoksi, koko 50 × 54 cm ja paksuus 18 mm, osa P
- 1 ilmanottoventtiili, osa R
- 1 lämpömittari savustustilan lämpötilan seurantaan, osa U
- kuumuutta kestävää laastia tai muuta soveltuvaa tiivistysmateriaalia elementtien väleihin
- saranat luukkua varten
- ripustuskoukkuja kaloille tai muille savustettaville raaka-aineille
Savustuspurukaukalon reunat taivutetaan noin 5 cm ylöspäin, jotta purut pysyvät kaukalossa. Kun 50 × 50 cm teräslevyn reunat taivutetaan ylös, kaukalon pohjamitta pienenee ja se sopii elementin sisään.
Osaluettelo:
A alin elementti
B toinen elementti
C kolmas elementti
D ylin elementti
E kierretangot hiiliarinaa varten
F kierretangot välilevyä varten
G kierretangot ripustuskoukkuja varten
H hiiliarina
J savustuspurukaukalo
K välilevy
P katto
R ilmanottoventtiili
U lämpömittari
Havainnekuvan mitat ovat senttimetreinä.
Elementtien välit tiivistetään
Elementtien välit tiivistetään kuumuutta kestävällä laastilla tai muulla käyttökohteeseen sopivalla tiivistysmateriaalilla. Tiivistyksen tehtävä on ohjata savu ja lämpö uunin sisällä hallitusti ylöspäin.
Laasti on tee se itse -rakentajalle selkein vaihtoehto. Jos tiivistämiseen käytetään muuta materiaalia, sen kuumuudenkesto ja soveltuvuus tällaiseen rakenteeseen pitää varmistaa ennen käyttöä.

Savustusuunin varsinainen rakentaminen
Alin elementti A
Aseta alin elementti betonilaatan päälle. Tee elementtiin aukko ilmanottoventtiiliä R varten ja kiinnitä venttiili paikalleen ruuveilla.
Merkitse kierretankojen E paikat noin 30 cm välein ja noin 5 cm elementin yläreunasta. Tankojen varaan tulee hiiliarina H. Hiiliarina taivutetaan 3 mm paksusta reikälevystä. Sen pitää kantaa hiilet taipumatta.
Savustuspurukaukalo J sijoitetaan lähelle lämmönlähdettä. Kaukalon tehtävä on pitää savustuspuru hallitusti omalla paikallaan, jolloin savun määrää on helpompi säädellä.
Toinen elementti B
Toiseen elementtiin tehdään luukku, jonka kautta hiiliä ja savustuspurua voidaan lisätä savustuksen aikana.
Poraa kierretankoja varten elementin toiseen sisäsivuun noin 3,5 cm syvät reiät. Vastakkaiselle sivulle porataan noin 1,5 cm syvät reiät. Reikien halkaisija on 14 mm. Kierretankoon kierretään mutteri sopivalle kohdalle, jotta tanko ei pääse liukumaan liian syvälle reikään.
Luukku tehdään sahaamalla elementistä yksi sivu irti. Irrotettu pala toimii luukkuna, kun siihen kiinnitetään tukevat saranat. Ylempi sarana sovitetaan noin 2 cm päähän elementin yläreunasta ja alempi sarana noin 6 cm päähän alanurkasta. Aseta luukku paikalleen, merkitse vastakappaleiden paikat ja kiinnitä luukku elementtiin.
Luukun ei tarvitse olla täysin tiivis. Ilman määrää säädetään ensisijaisesti ilmanottoventtiilillä.
Kolmas elementti C
Kolmannen elementin sisään asennetaan kaksi kierretankoa F. Niiden varaan asetetaan välilevy K.
Välilevy kerää savustettavasta ruoasta valuvaa nestettä ja rasvaa. Samalla se erottaa savustustilan alemmasta lämmönlähteestä. Tämä helpottaa kypsymisen hallintaa ja vähentää rasvan tippumista suoraan hiillokselle.
Ylin elementti D
Neljäs elementti asetetaan ylimmäksi ja tiivistetään paikalleen. Sen yläreunaan kiinnitetään kaksi kierretankoa G. Tankojen etäisyys yläreunasta on noin 10 cm.
Tankoihin voidaan ripustaa savustettavan kalan koukut. Savustustilaan asennetaan myös lämpömittari noin 5 cm elementin alareunasta. Mittari auttaa seuraamaan uunin lämpöä ja tekee savustamisesta helpommin hallittavaa.
Savustusuuni tarvitsee katon
Uunin päälle tehdään katto P. Katto pitää savun uunin yläosassa ja vähentää lämmön karkaamista. Se suojaa rakennetta myös sateelta.
Katto tehdään vanerista. Kattolevyn alle tehdään yksinkertainen kehikko, jotta levy ei ole suorassa kosketuksessa ripustuskoukkuihin tai kuumiin metalliosiin. Katto tehdään hieman vinoon, jotta sadevesi valuu pois eikä jää seisomaan levyn päälle.
Kun uuni jää pidemmäksi aikaa käyttämättä, se kannattaa suojata sateelta ja lumelta. Peitteen alle on hyvä jättää tuuletusta, jotta kosteus ei jää rakenteeseen.
Ensimmäinen lämmitys tehdään ilman ruokaa
Valmis savustusuuni kannattaa kuumentaa ensimmäisen kerran tyhjänä. Samalla näet, miten uuni vetää, miten ilma kulkee venttiilin kautta ja kuinka lämpö nousee savustustilassa.
Ensimmäinen käyttökerta kertoo myös, pysyvätkö ritilät, levyt ja ripustustangot tukevasti paikoillaan. Kun rakenne toimii, uunia voi käyttää varsinaiseen savustamiseen.
Kala savustuu parhaiten, kun pinta ei ole märkä
Savustettava kala kannattaa kuivata pinnalta ennen uuniin laittamista. Märkä pinta hidastaa savun tarttumista ja voi tehdä lopputuloksesta vetisen. Kala voidaan kuivata talouspaperilla tai antaa sen levätä hetki viileässä ennen savustamista.
Savustuksen aikana lämpöä säädetään hiilien määrällä ja ilmanottoventtiilillä. Liian kova lämpö kuivattaa pinnan nopeasti. Liian matala lämpö venyttää kypsymistä ja tekee lopputuloksesta vaikeammin hallittavan.
Puhdista savustusuuni käytön jälkeen
Anna uunin jäähtyä rauhassa ennen puhdistamista. Poista tuhka ja hiillos vasta, kun ne ovat varmasti sammuneet.
Savustuspurukaukalo ja välilevy puhdistetaan rasvasta ja ruoantähteistä. Jos rasva saa palaa kiinni kerta toisensa jälkeen, se heikentää makua ja tekee uunista hankalamman puhdistaa.
Talveksi uuni kannattaa suojata sateelta ja lumelta. Suojaaminen pidentää rakenteen käyttöikää, koska kosteus ei pääse imeytymään elementteihin ja jäätymään niiden sisällä.
Ohje
Lisää vinkkejä kalan valmistukseen
Maistuisiko kala? Jos savustus ei ole sinun juttusi (tai et vielä ole ehtinyt tehdä savustusuunia), tässä vinkkiä miten esimerkiksi kalaa voi valmistaa muuten:











