Pilariperustus – Käytännöllinen ratkaisu erityisesti haastaviin maaperiin

Pilariperustusta käytetään yleisesti terassien, kuistien ja pienrakennusten, kuten aitojen ja varastojen, perustuksena – ratkaisu on nopea, kevyt ja vähäisen maansiirtotyön vaativa. (Kuvituskuva Adobe Stock)
Pilariperustus on tehokas ja kustannustehokas perustustapa erityisesti silloin, kun maaperä on kantava tai kun rakennuspaikka on kallioinen, viettävä tai muutoin vaikeasti kaivettavissa. Se soveltuu erinomaisesti kellarittomiin rakennuksiin, kuten vapaa-ajan asuntoihin, kevyisiin pientaloihin, varastoihin ja kuistien sekä terassien perustuksiin. Pilariperustuksen suunnittelu ja toteutus tulee aina tehdä hyvän rakennustavan ja rakennusmääräysten mukaisesti.
Mikä on pilariperustus?
Pilariperustus koostuu maahan tukeutuvista pilareista ja niiden alla olevista anturoista. Rakennuksen paino siirtyy pilareiden kautta pistekuormina kantavaan maapohjaan. Pilariperustuksen etuna on, että se vaatii huomattavasti vähemmän maansiirtotöitä kuin perinteinen laatta- tai sokkeliperustus, eikä koko rakennuspohjaa tarvitse kaivaa auki. Rakenteet jäävät maanpinnan yläpuolelle, mikä helpottaa rakennuksen alapuolen tuulettumista ja vähentää kosteusrasitusta.
Pilariperustuksen hyödyt:
- Soveltuu kallio- ja rinnealueille
- Vähemmän kaivuu- ja täyttötöitä
- Mahdollistaa rossipohjan ja rakennuksen tuulettumisen
- Nopea ja edullinen toteuttaa pienissä rakennuskohteissa
- Routasuojaus on helppo toteuttaa yksittäisten pilareiden ympärille

Milloin pilariperustus on sopiva vaihtoehto?
Pilariperustus on käyttökelpoinen vaihtoehto silloin, kun:
- rakennetaan kevytrakenteista tai pienikokoista rakennusta
- rakennuspaikalla on hyvä kantavuus (esim. kallio tai tiivis moreeni)
- rakennus halutaan nostaa irti maasta (esimerkiksi kosteuden tai routimisen vuoksi)
- maasto on jyrkkä tai epätasainen, eikä tasaaminen ole tarkoituksenmukaista.
Pilariperustus ei kuitenkaan sovellu raskaille rakennuksille ilman huolellista suunnittelua. Rakennuslupa- tai toimenpidelupavaatimukset tulee aina varmistaa paikalliselta rakennusvalvontaviranomaiselta, sillä lupakäytännöt voivat vaihdella kunnittain.
Mikäli maaperä on pehmeä tai savinen, pilariperustus voidaan toteuttaa porapaaluilla tai ruuvipaaluilla, jolloin kuorma siirtyy kantavaan maakerrokseen syvemmällä.
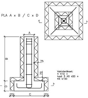
Pilarien suunnittelu ja mitoitus
Pilarien koko, korkeus, sijainti ja määrä määritetään rakennesuunnittelijan tekemän kuormituslaskelman perusteella. Myös anturan mitoitus perustuu maan kantavuuteen, joka voidaan selvittää pohjatutkimuksella.
Pilarit voidaan valmistaa paikalla valettuna tai käyttää valmiita elementtejä. Betonipilarit suunnitellaan yleisesti lujuusluokkaan C25/30, ja ne tehdään säänkestävästä rakenteesta. Raudoituksen osalta noudatetaan standardia SFS-EN 1992 (Eurokoodi 2) ja kansallisia liitteitä.
Jos pilari jää ulkoilmaan ilman pintasuojausta, sen betonin tulee olla pakkasenkestävyysluokkaa vähintään XF2 (tarvittaessa XF3), jotta se kestää toistuvat jäätymis- ja sulamissyklit.

Routasuojaus
Pilariperustuksen yhteydessä on huolehdittava riittävästä routasuojauksesta. Jos perustuksia ei uloteta alueellisen routasyvyyden alapuolelle (yleensä 1,0–2,5 m), on pilarien ympärille asennettava vaakatasoinen lämmöneriste riittävällä ulottuvuudella.
Yleisesti käytetään esimerkiksi EPS- tai XPS-eristettä (paksuus 120–200 mm), joka ulottuu vähintään 1,0 metrin pilarin ulkopuolelle ja on asennettu loivasti viettämään poispäin rakennuksesta, jotta sulamisvesi ei johda lämpöä pois eristeestä.
Suunnittelussa käytetään Ympäristöministeriön asetusta rakennusten kosteusteknisestä toimivuudesta (782/2017).
Pilariperustuksen rakenneosat
Yleinen rakenne koostuu seuraavista osista:
- Pilarin antura: Jakaa kuormaa laajemmalle ja estää painumista
- Pilari: Kantaa rakennuksen rungon kuorman
- Routasuojaus: Estää maan routimisen aiheuttamat liikkeet
Pilareiden koko, korkeus ja sijoittelu määräytyvät rakenteen kuormituksen ja pohjatutkimuksen perusteella. Rakennesuunnittelija mitoittaa tarvittavan määrän ja sijoittelun.
Pilarien muottiratkaisut ja valaminen
Pilarit voidaan tehdä paikalla valettuna käyttäen EPS-eristeisiä tai puisia muotteja, tai käyttää valmiita betonisia pilarielementtejä. Valumuottien tehtävänä on määrittää pilarin muoto ja suojata valua valupaineelta. EPS-muotit voivat samalla toimia lämmöneristeenä.
Valuvaiheessa on tärkeää:
- Tukea muotit kunnolla ulkoisesti tai sisäisesti, jotta ne kestävät betonin paineen
- Vaaittaa pilarien yläpinnat tarkasti samalle tasolle
- Tiivistää betoni huolellisesti, jotta vältetään ilmakuplat ja saadaan kantava rakenne
Betonimassan ominaisuudet:
- Suositeltu notkeusluokka: S3 (125–160 mm)
- Maksimiraekoko: yleensä enintään 16 mm
- Lujuusluokka: rakennesuunnittelijan määrittämä, usein C25/30
- Pakkasenkestävyys: vähintään XF2, jos pilari on ulkoilmassa ilman pintasuojausta
Asennuksen jälkeen
Valun jälkeen muotit puretaan tai ylimääräinen eriste poistetaan näkyviltä osin. Näkyväksi jäävä betonipinta voidaan käsitellä haluttaessa esimerkiksi maalaamalla tai pinnoittamalla. Routasuojaus viimeistellään maanpinnan korkeudelle saakka.
Info
Rakennuslupa ja suunnitteluvastuu
Pilariperustus vaatii aina suunnittelijan laatimat rakennepiirustukset ja kuormituslaskelmat. Mikäli rakennetaan pysyvää rakennusta (esimerkiksi mökki tai omakotitalo), tarvitaan lähes aina rakennuslupa. Vain tietyissä kevytrakenteisissa ja pienissä rakennelmissa, kuten alle 20 m² aitassa tai varastossa, voidaan mahdollisesti käyttää toimenpideilmoitusta.
Pohjatutkimus on aina tehtävä, kun rakennetaan pysyvää rakennusta. Kevyissä rakennelmissa kantavuus voidaan arvioida koekuopalla ja silmämääräisesti tarkastamalla maaperän rakenne.
Lupa-asia tulee aina tarkistaa oman kunnan rakennusvalvonnasta.











